
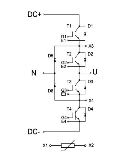
| VCES (V) | 1200V |
| Ic (A) | 225A |
| Topology | INPC |
| Package | P4 |
Features:
⚫ Vces=1200V Ic=225A Trench & Field Stop IGBT Module
⚫ Maximum Junction Temperature -40 - +175℃
⚫ Low Switching Loss
⚫ 100% RBSOA Tested(2×Ic)
⚫ Low Stray Inductance
⚫ Lead Free, Compliant with RoHS Requirement
Applications:
⚫ 3-Level-Application
⚫ Solar Application